Analog Devices / Maxim Integrated MAX5815 12-Bit Buffered Output DAC
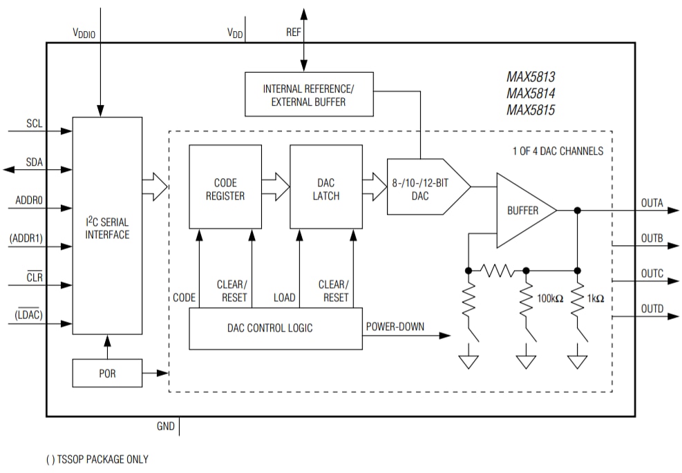
Analog Devices Inc. MAX5815 12-Bit Buffered Output Digital-to-Analog converter (DAC) features an internal reference that is selectable to be 2.048V, 2.500V, or 4.096V. Maxim Integrated MAX5815 DAC accepts a wide supply voltage range of 2.7V to 5.5V with extremely low power (3mW) consumption to accommodate most low-voltage applications. A precision external reference input allows rail-to-rail operation and presents a 100kΩ (typ) load to an external reference. ADI MAX5815 has an I²C-compatible, 2-wire interface that operates at clock rates up to 400kHz. The DAC output is buffered and has a low supply current of less than 250FA per channel and a low offset error of ±0.5mV (typ). MAX5815 DAC is ideal for use in a variety of applications, including programmable voltage and current sources as well as gain and offset adjustment.Features
- Four high-accuracy DAC channels
- 12-Bit accuracy without adjustment
- ±1 LSB INL buffered voltage output
- Guaranteed monotonic over all operating conditions
- Independent mode settings for each DAC
- Three precision selectable internal references
- 2.048V, 2.500V, or 4.096V
- Internal output buffer
- Rail-to-rail operation with external reference
- 4.5μs Settling time
- Outputs directly drive 2kΩ loads
- Wide 2.7V to 5.5V supply range
- Separate 1.8V to 5.5V VDDIO power-supply input
- Fast 400kHz I²C-compatible, 2-wire serial interface
- Power-on-reset to zero-scale DAC output
- Active-low LDAC and active-low CLR for asynchronous control
- Three software-selectable power-down output impedances
- 1kΩ, 100kΩ, or high impedance
Applications
- Programmable voltage and current sources
- Gain and offset adjustment
- Automatic tuning and optical control
- Power amplifier control and biasing
- Process control and servo loops
- Portable instrumentation
- Data acquisition
Functional Diagram
Application Circuit
Published: 2012-04-18
| Updated: 2023-04-12
