Diodes Incorporated AH396xQ Automotive Dual Hall Effect Latches
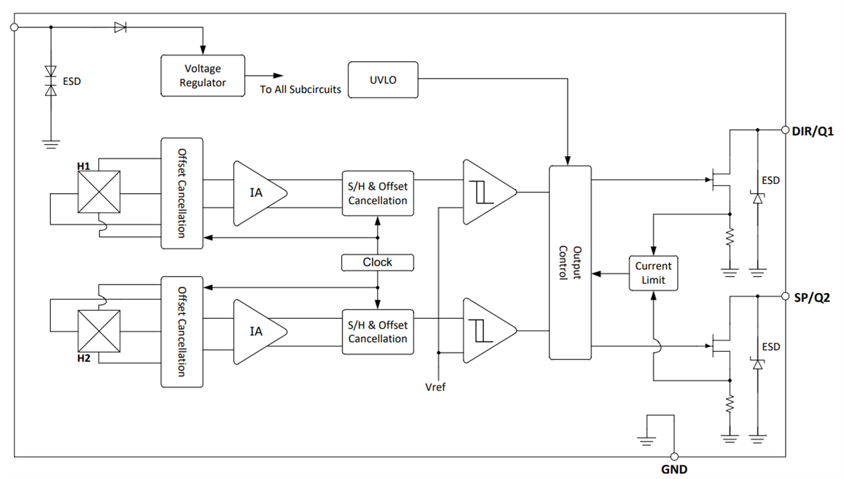
Diodes Incorporated AH396xQ Automotive Dual Hall Effect Latches are high voltage sensors designed with accurate speed and direction sensing. These dual hall latches provide a temperature-compensated supply for internal circuits with chopper-stabilized architecture and an internal bandgap regulator. The AH396xQ latches operate from a 2.7V to 27V supply voltage range and -40°C to 125°C of temperature range. These latches offer battery polarity reverse connection protection, transient spike voltage protection, and UVLO protection. The AH3965/AH3966/AH3967 latches provide speed and direction outputs, while the AH3968 provides two independent outputs.These automotive latches are lead, halogen, antimony free, fully RoHS compliant, and AEC-Q100/101/104/200 qualified. Typical applications include industrial motors, white goods, pumps, rotation speed and direction detection, linear speed and direction detection, and angular position detection.
Features
- Speed and direction output (AH3965/AH3966/AH3967) and dual outputs (AH3968)
- 2.7V to 27V wide supply voltage range
- Chopper stabilized design provides:
- Superior temperature stability
- Minimal switch point drift
- Enhanced immunity to stress
- Battery polarity reverse connection protection
- Transient spike voltage protection
- UVLO protection
- HBM = 5kV, CDM = 2kV high ESD rating
- -40°C to 125°C operating temperature range
- Lead, halogen, and antimony free
- RoHS compliant
Applications
- Industrial motors
- White goods
- Pumps
- Rotation speed and direction detection
- Linear speed and direction detection
- Angular position detection
Application Circuit Diagram
Functional Block Diagram
Published: 2023-08-09
| Updated: 2023-08-21
