Texas Instruments ADC12DJ2700 12-Bit RF-Sampling ADCs

Texas Instruments ADC12DJ2700 12-Bit, Dual 2.7GSPS or Single 5.4GSPS, RF-Sampling Analog-to-Digital Converters (ADCs) can directly sample input frequencies from DC to above 10GHz. The Texas Instruments ADC12DJ2700 can sample up to 2700MSPS in dual-channel mode and up to 5400MSPS in single-channel mode. The requirements of both high channel count or wide instantaneous signal bandwidth applications are easily met through the development of flexible software in programmable tradeoffs in channel count and Nyquist bandwidth. Direct RF sampling of L-band, S-band, C-band, and X-band for frequency agile systems is allowed via full-power input bandwidth (–3dB) of 8.0GHz, with usable frequencies exceeding the –3dB point in both dual- and single-channel modes.

Features

  • ADC core
    • 12-bit resolution
    • Up to 5.4GSPS in single-channel mode
    • Up to 2.7GSPS in dual-channel mode
  • Performance specifications
    • Noise floor (no signal, VFS = 1.0 VPP-DIFF):
      • Dual-channel mode: –151.6dBFS/Hz
      • Single-channel mode: –153.8dBFS/Hz
    • HD2, HD3: –65dBc up to 3GHz
  • Buffered analog inputs with VCMI of 0V
    • Analog input bandwidth (–3dB): 8.0GHz
    • Usable input frequency range: > 10GHz
    • Full-scale input voltage (VFS, default): 0.8VPP
    • Analog input common mode (VICM): 0V
  • Noiseless Aperture Delay (TAD) adjustment
    • Precise sampling control: 19fs step
    • Simplifies synchronization and interleaving
    • Temperature and voltage invariant delays
  • Easy-to-use synchronization features
    • Automatic SYSREF timing calibration
    • Timestamp for sample marking
  • JESD204B serial data interface
    • Supports subclass 0 and 1
    • Maximum lane rate: 12.8Gbps
    • Up to 16 lanes allow a reduced lane rate
  • Digital down-converters in dual-channel mode
    • Real output: DDC bypass or 2x decimation
    • Complex output: 4x, 8x, or 16x decimation
    • Four independent 32-bit NCOs per DDC
  • 2.7W power consumption 
  • Power supplies of 1.1V, 1.9V

Applications

  • Communications testers (802.11ad, 5G)
  • Satellite Communications (SATCOM)
  • Phased array radar, SIGINT, and ELINT
  • Synthetic Aperture Radar (SAR)
  • Time-of-Flight and LIDAR distance measurement
  • Oscilloscopes and wideband digitizers
  • Microwave backhaul
  • RF sampling Software-Defined Radio (SDR)
  • Spectrometry

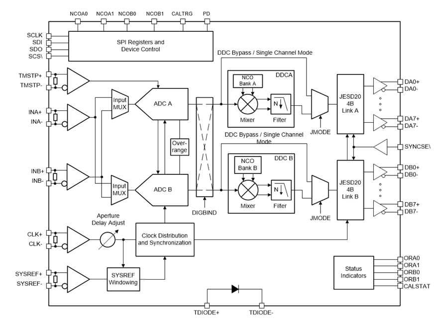
Functional Block Diagram

Block Diagram - Texas Instruments ADC12DJ2700 12-Bit RF-Sampling ADCs
Published: 2018-04-11 | Updated: 2022-11-23