Texas Instruments OPA862 Single-Ended-to-Differential Amplifiers
Texas Instruments OPA862 Single-Ended-to-Differential Amplifiers are designed with high input impedance for directly interfacing with sensors. The OPA862 consumes only 3.1mA quiescent current for an output-referred noise density of 8.3nV/√Hz in a gain of 2V/V configuration. A fully differential amplifier configured in a gain of 1V/V with 1kΩ resistors must be less than 1nV/√Hz to achieve the OPA862 equivalent output-referred noise density of 8.3nV/√Hz.Using external resistors, the OPA862 can be configured for other gains. The OPA862 Amplifiers feature a large gain bandwidth of 400MHz and a slew rate of 140V/µs. This feature allows for exceptional linearity and fast-settling, 18-bit performance over comparable single-ended-to-differential ADC drivers. The Amps include a reference input pin for setting the output common-mode voltage.
The OPA862 is fully characterized as operating over a wide supply range of 3V to 12.6V and offers a rail-to-rail output stage. The OPA862 is fabricated using Texas Instruments’ proprietary, high-speed, silicon-germanium (SiGe) process and achieves exceptional distortion performance for 18-bit systems. An additional feature included on the device is a disable mode that consumes only 12µA quiescent current in the power-down state.
The Texas Instruments OPA862 Single-Ended-to-Differential Amplifiers are rated to work over the extended industrial temperature range of –40°C to +125°C.
Features
- 3V to 12.6V wide supply range
- 325MΩ high input impedance
- Voltage noise
- Input-referred (f ≥ 5kHz): 2.3nV/√Hz
- Output-referred (f ≥ 10kHz): 8.3nV/√Hz
- ±700µV (maximum) differential output offset
- ±1.5µV/°C (typical) output offset drift
- ±5nA (typical) A2 bias current cancellation, IB
- 400MHz gain-bandwidth product
- 44MHz (G = 2V/V) small-signal bandwidth
- 140V/µs slew rate
- –122dBc, –140dBc HD2, HD3 (VOD = 10VPP, 50kHz)
- Rail-to-rail output: High linear output current: 60mA (typ)
- 3.1mA quiescent current
- Disable mode with 12µA quiescent current
- -40°C to +125°C extended temperature operation
Applications
- 16-bit and 18-bit ADC drivers
- Memory and LCD testers
- Data acquisition(DAQ)
- Test and measurement
- Transimpedance amplifiers (TIA)
- Class-D audio amplifier drivers
- Piezoelectric sensor interface
- Medical instrumentation
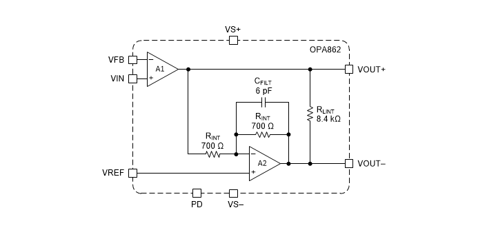
Functional Diagram
